91免费网址在线观看,91免费版看片,91免费观看色片,91免费视频网页版


深圳市91免费网址在线观看标准光源有限公司

TILO 经典传承,源自1998

111仪器信息网

全国统一客服热线:

400-888-5135
当前位置:主页>新闻中心>行业资讯

标准光源类型与色温体系

文章出处:www.qingdaoweisidun.com 人气:929发表时间:2025-11-11

标准光源体系通过精确控制光谱功率分布,为各行业提供可靠的色彩评价基础,其色温特性直接影响颜色评估的准确性和一致性。

 

标准光源色温2


标准光源体系分类与技术特征

自然光模拟光源系列

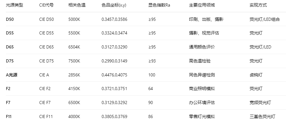
D系列光源模拟不同时段和天气条件下的自然日光。D50光源相关色温5000K,色品坐标x=0.3457,y=0.3586,主要用于印刷、出版行业的标准观察条件。D55光源色温5500K,适用于摄影和视觉摄影原稿的评价。D65光源色温6504K,代表平均日光,是通用颜色评价的基础光源。D75光源色温7500K,模拟北天空日光,适用于高色温要求的检验工作。

这些光源的光谱功率分布通过大量实测数据确定,具有连续光谱特性。D系列光源的实现通常采用荧光灯管结合特殊荧光粉,或LED组合光谱技术,光谱匹配度要求达到90%以上。光源的紫外含量需严格控制,D50光源的UV输出应与自然日光相匹配,用于评估含荧光增白剂材料的颜色。

人工光源标准系列

A光源代表充气钨丝灯,相关色温2856K,色品坐标x=0.4476,y=0.4075。其光谱功率分布符合普朗克辐射定律,主要用于同色异谱现象的检测。A光源的显色指数Ra=100,是评价其他光源显色性的基准。

F系列光源代表典型的荧光灯照明体。F2为冷白光荧光灯(4150K),F7为宽波段日光荧光灯(6500K),F11为窄带三基色荧光灯(4000K)。这些光源的光谱呈线状特征,在特定波长有较强的辐射峰值,用于评估材料在商业照明环境下的颜色表现。

 

标准光源技术参数与应用对照表

 

标准光源色温


 

光源实现技术与质量控制

光源实现方法

传统标准光源采用荧光灯管实现,通过调配荧光粉比例模拟目标光谱。D50光源使用多波段荧光粉,在450nm、540nm、610nm处设置发射峰,模拟日光连续光谱。LED光源通过芯片组合和荧光粉技术,可实现更精确的光谱匹配。RGB三色LED混合可调出不同色温,全光谱LED通过蓝光芯片激发特殊荧光粉,产生更连续的光谱。

光源老化监控至关重要。荧光灯管寿命约2000小时,使用1000小时后色温漂移应小于±100K。LED光源寿命可达10000小时,但需注意色温随时间的稳定性。智能光源系统内置传感器,实时监测色温和照度,自动补偿老化带来的变化。

质量控制标准

标准光源需定期校准,确保色温、显色指数和照度符合要求。校准周期为6-12个月,使用标准色温计和光谱辐射度计测量。色温容差要求:D系列光源±200K以内,A光源±100K以内。显色指数偏差应小于3,照度均匀性不低于0.8。

紫外含量控制特别重要。D50光源的紫外辐射应与真实日光匹配,UV比例控制在1.5%-2.5%。使用紫外截止滤光片可调节UV输出,满足不同材料的评价需求。

 

各行业应用标准与选择指南

印刷与出版行业

印刷行业严格执行ISO 3664:2009标准,要求使用D50光源进行颜色评价。照度标准为2000±500lux,均匀度≥0.8,环境光≤64lux。观察条件为0/45或45/0几何,背景为中性灰(Munsell N7)。

数字打样采用D50标准,确保软打样与硬打样的一致性。出版社需定期用标准色卡验证光源状态,当ΔUV超过0.01时需要调整或更换光源。

纺织与服装行业

纺织品对色采用D65光源,模拟日光下的颜色表现。同时需要评估同色异谱,在D65和A光源下比较颜色差异。色牢度评级使用D75光源,照度600lux,确保评级准确性。

商场照明模拟使用F系列光源,评估服装在零售环境下的颜色效果。重点考察色变程度,要求ΔE*ab小于3.0。

 

特殊应用与新兴技术

汽车与涂料行业

汽车颜色评价需要多角度观察。使用D65光源评估正面色,同时检查侧视角的颜色变化。金属漆和珠光漆需在多个角度下评价,确保颜色的一致性。

涂料行业采用多光源对色制度。在D65、A、F11三种光源下评估颜色,确保在不同照明环境下颜色表现稳定。同色异谱指数要求小于1.5。

数字显示与新媒体

显示器校准使用D65标准,色温6500K,gamma值2.2。视频制作采用D63光源,色温6300K,适应显示器的特性。影视照明使用D55光源,与胶片特性匹配。

HDR内容制作需要更宽色域,使用D65基准,但色域范围扩展至Rec.2020。这些新标准推动光源技术不断进步。

 

常见问题与解决方案

光源老化与性能衰减

定期检测是保证准确性的关键。每月使用标准色温计测量色温,每季度用光谱仪检查光谱功率分布。建立光源使用档案,记录使用时间和性能变化。

设置预警机制,当色温漂移超过标准值的50%时提前更换。采用冗余设计,重要工位配备备用光源,确保生产不受影响。

环境光控制

标准观察室需要严格的光学隔离。墙面使用中性灰涂料(反射率≤60%),避免反射光干扰。观察台设置在房间中央,远离门窗。

建立准入制度,非相关人员不得进入观察区域。使用自动门和帘幕系统,减少人员进出带来的光线影响。

 


同类文章排行

最新资讯文章

QQ咨询

在线咨询真诚为您提供专业解答服务

咨询热线

400-888-5135
7*24小时服务热线

返回顶部
网站地图